6 января 6 янв. 60 3830

Sony запатентовала ИИ-помощника, способного проходить игры вместо человека

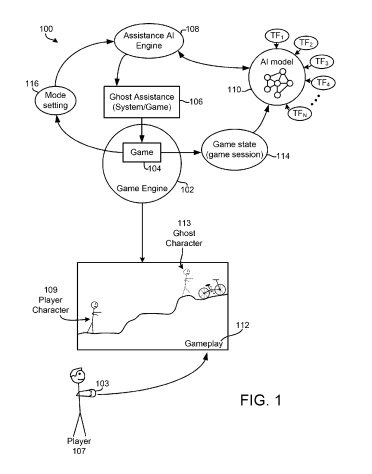
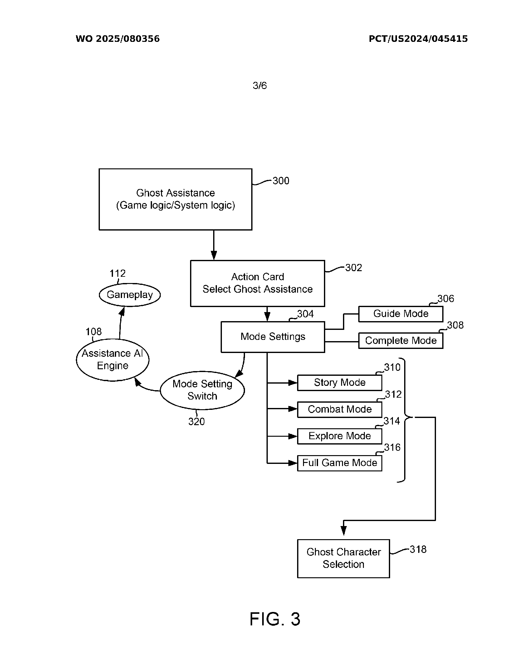
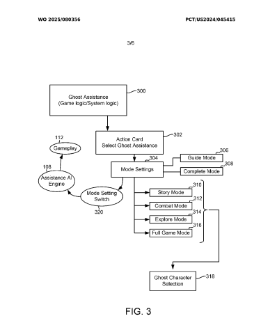
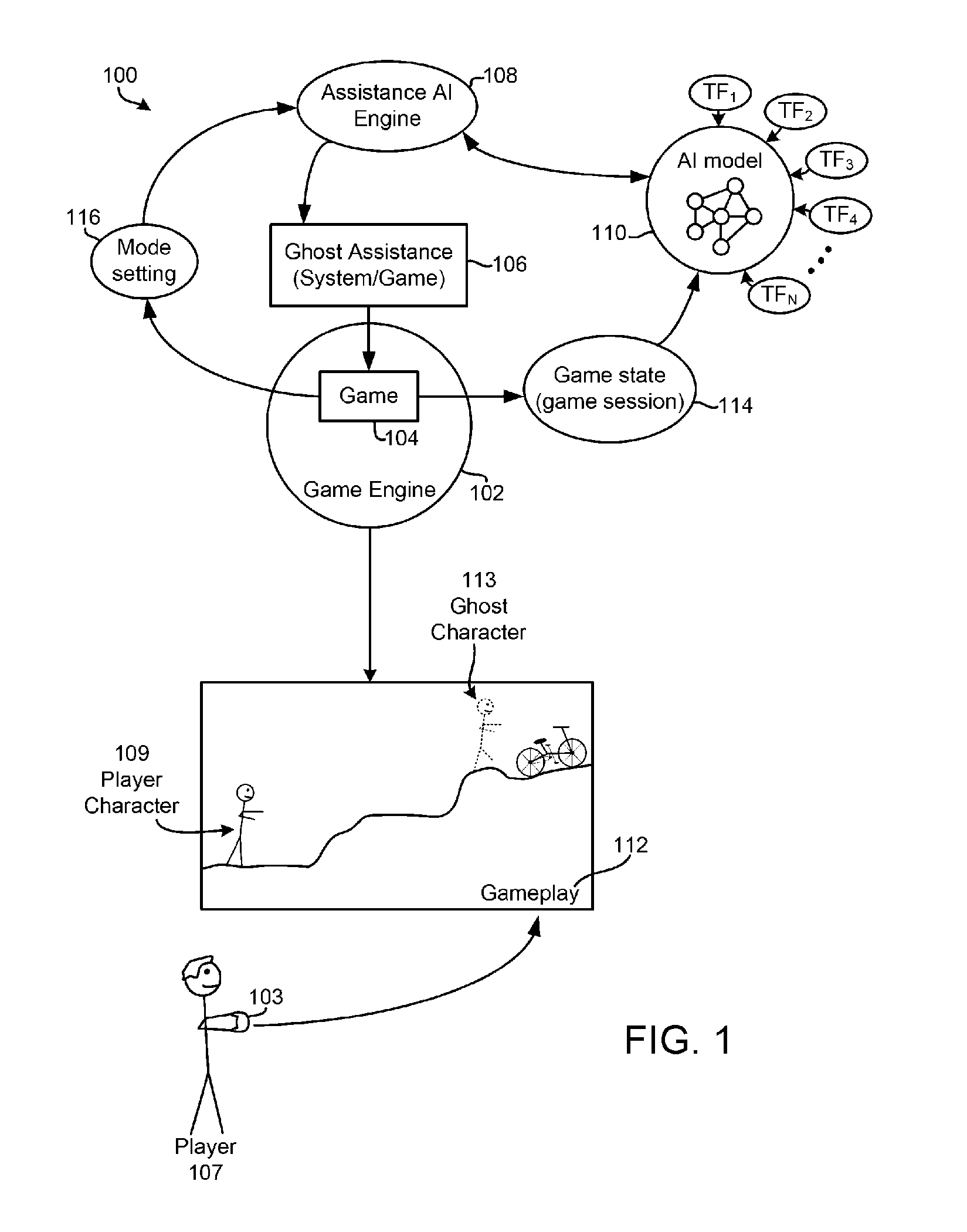
В современных играх распространены разные способы помощи в прохождении. Где-то можно отключить QTE, где-то набивать комбо одной кнопкой, а нередко персонажи сами начинают подсказывать решения к головоломкам. В Sony пошли ещё дальше и запатентовали ИИ-помощника, который способен проходить сложные моменты в играх вместо живого геймера.

Как идея должна работать: в случае необходимости пользователь может вызвать «игрока-призрака» — ИИ-версию персонажа геймера — и тот пройдёт часть или весь уровень вместо человека.

Например, в Uncharted получится призвать ИИ-вариант Нейтана Дрейка, который продемонстрирует решение загадки в режиме проводника, чтобы человек сам повторил необходимые действия. В альтернативном режиме «призрак» Дрейка пропрыгает по балкам или решит головоломку самостоятельно.

В документе указано, что ИИ-помощник будет натренирован на записях геймплея, а не состоять из заранее записанных вариантов действий. Как подметили в VGC, зарегистрированный патент призрачного помощника развивает идеи «Справки по игре» — опции для PS5, которая содержит полезные видео или скриншоты и помогает продвинуться в игре.

Важно подчеркнуть, что Sony подала заявку на регистрацию патента ещё в сентябре 2024-го, но лишь на прошлой неделе Всемирная организация интеллектуальной собственности опубликовала международный отчёт о состоянии патента.

Пока неизвестно, когда игры на PlayStation начнут играть сами в себя. Есть вероятность, что Sony оформила патент просто для галочки, чтобы этого не сделал кто-то другой. Таких случаев накопилось достаточно (пример, второй пример и ещё пример).

ИИ-помощник — не первый эксперимент Sony в сфере нейросетей. Ранее в Интернет выложили ролик, в котором главная героиня серии Horizon отвечает на вопросы пользователя, касающиеся внутриигрового мира и геймплея, и болтает на отвлечённые темы.


Все наши новости в телеграм канале Наши новости в телеграм канале

Лучшие комментарии

Sony запатентовала ИИ-помощника, способного проходить игры за игровых журналистов, хе-хе)

Вообще не понял Вашей логики. Почему подсмотреть прохождение сложной загадки на ютубе - убожество, а в самой игре - нет?

Браузер с открытым видеопрохождением момента на втором монитере.
Простой видеофайл против ИИ жрущего кучу ресурсов.

А когда будет ии, который будет выполнять работу за менеджеров и глав?

Всего-то надо вернуть чит-коды в играх. Раньше ведь могли, делали читы, а сегодня ИИ-помощники, продажа ДЛС с вещами, облегчающие прохождения, и прочая чушь.

Ммм, крутая идея платить за игру кучу бабла, чтобы дать её проходить ИИ вместо тебя. Это каким нужно быть казуалычем, чтобы такое понадобилось...

А может, игры будут сами настолько плохо сделанные с помощью ии, что только ии-шки и смогут в них играть, когда обычный человек будет плеваться xD?

Изменено: Ладно, я тут вспомнил, что есть современные геймеры среди людей с болезнями или преклонного возраста, ну и им некоторые участки в играх могут даваться сложно и на лёгкой сложности, ну а игра им может нравится, будет обидно, если они не смогут пройти её из-за здоровья. Если рассуждать так, то полезная фича, чтобы приобщить больше игроков к играм с любым здоровьем и возрастом. Однако, если так, то патентовать - мерзкое решение, что не позволит внедрить такую технологию другим студиям, даже если они хотели бы.

Конечно, отнимать у игроков возможность потешить своё ЧСВ, пусть и незаслуженно, очень плохое бизнес-решение.

Вот мне интересно. После это го, будет ли такой диалог?

Игрок:"вы сделали непроходимую игру, без баланса, плохими решениями и кривым упровлением...."

Разраб/менеджер:"так включи платное авто прохождение"

Покупаешь книгу, чтобы дать ИИ почитать и тебе пересказать, даёшь сериал на просмотр для ии, ну и работу с творчеством тоже отдавай ИИ. А что остаётся для тебя, хммм ?

Гиперболизирую конечно, но тенденция тревожная...

Ура, наконец-то! Но, наверное, будет по подписке. Заплатил - и "прошел" игру. Также нужен ИИ-помощник, который будет покупать игры. А человеки будут просто работать и смотреть.

Все думали что X в фразе "Press X to Win" это икс, а оказалось это крестик.

Например, в Uncharted получится призвать ИИ-вариант Нейтана Дрейка, который продемонстрирует решение загадки в режиме проводника

Разве в Uncharted хоть где-то была загадка, которая требовала бы такой помощи?

Я не припомню. И вряд ли такое будет в будущих играх.

Функция для тех, кому лень даже видеопрохождение самому искать). Интересно, ачивки будут засчитываться в таком режиме?

Я больше не понимаю, а чем это принципиально отличается от простых внутриигровых подсказок вроде тех, что есть в квестах вроде Машинариума, Полной Трубы или пропуска особо задалбывающих загадок, как у Братьев Пилотов с их холодильником? Почему на это должны тратиться ресурсы, время и силы, если выхлопа столько же?

И насколько вообще эта система будет работать в первый день, если обучение будет проводиться на прохождениях, а их выборка от тех же тестеров может быть чертовски мала - не запутается ли нейронка, если сами внутренние данные сами будут косячные и долгие?

Максимум только спасительные вариант, что эта система будет настолько гибкая, что её можно вселять без танцев с бубном во все проекты студии, но я что-то в этом сомневаюсь.

Условный призрак помощник и так иногда встречается.

Прохождение суперступорных порой было бы неплохо. Ну не можешь ты пройти какого-то босса, а дальше поиграть хочется.

По мне так вполне уместная штука.

О боже, у ютуберов-обзорщиков весь хлеб отнимут, такими темпами.

Думаю надо такое ещё ввести в соревновательных онлайн шутерах ввести, а то че это они все.

Если без шуток- то наверное как и любая опция упрощения/комфорта - спорная тема, с плюсами и минусами. Тут к счастью вспомнили про людей с ограниченными возможностями, возможно еще какие варианты есть.

Так то до сих пор есть челы которые говорят что водить надо только на механике, иначе машину не чувствуешь и вообще не тру

А что мешает реально press X to win везде добавить? Просто выдать всем желающим возможность по кнопке скипать загадку, противника, квест, босса, главу и т.д. Будет дешевле, чем отдельно нейронку учить, чтобы она красиво и шикарно проходила какие-то моменты, а главное для игрока это будет ещё и быстрее. Вряд ли те, кто хочет пропускать части игры хотят смотреть как ИИ что-то там проходит, вместо того, чтобы сразу продолжить.

Читай также